Благодаря Valve Index «Габен и компания» установили новые стандарты для очков ПК VR. Очередной их патент показывает, что Valve планирует нечто большее: устройство со встроенной потоковой передачей VR на ПК или полностью автономные очки VR.
С момента запуска Valve Index прошло почти два года. Дисплей с широким полем зрения, отличная эргономика, уникальная динамика и усовершенствованные контроллеры VR делают Valve Index, пожалуй, лучшими очками для ПК VR, которые вы можете приобрести сегодня.
Однако индустрия виртуальной реальности не стоит на месте и продолжает развиваться в направлении автономныхVR-устройств. Это тенденция легко прослеживается в текущей рыночной ситуации: в то время как Oculus Quest 2 бьет рекорды продаж , рынок ПК-VR немного колеблется. Такие крупные игры, как Half-Life: Alyx для ПК VR могут это изменить, но пока их не так много. Автономные устройства, что уж греха таить, будут иметь значительное влияние на будущее VR.
Новый патент доказывает, что Valve не останавливается на достигнутом и работает над дальнейшим развитием своей платформы VR.
Патент был подан в Патентное ведомство США в сентябре 2020 года и выдан 18 марта 2021 года.
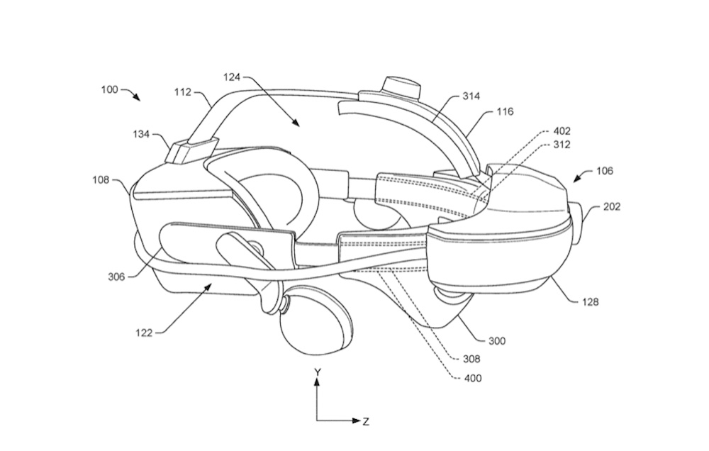
В патенте показаны различные системы VR-шлемов и описан ряд эргономических нововведений. Первый вариант аналогичен Valve Index с усиленной верхней лентой и циферблатом.

Другой вариант показывает два регулировочных колеса на задней части подголовника, причем верхнее используется для регулировки верхнего оголовья.

Третий вариант показывает опорное крепление для затылка, которое может быть корректироваться.

На двух последних рисунках заметна громоздкая задняя часть крепления для головы, в которую, согласно патенту, может быть установлена электроника для автономной работы. В этом контексте, опорное устройство на третьем рисунке должно служить не для улучшения рассеивания тепла, так как задняя часть головы больше не вступает в контакт с электроникой.
На другой иллюстрации показано, какая электроника может быть встроена в корпус очков и заднюю часть крепления для головы, включая процессор и память, беспроводной блок и антенну. Согласно патенту, последние два компонента могут быть установлены как спереди, так и сзади, чтобы обеспечить лучшую потоковую передачу, независимо от того, в каком направлении смотрит пользователь.

Valve не скрывает своих планов: при запуске на рынок Valve Index генеральный директор Гейб Ньюэлл сказал, что они изучают возможности беспроводной связи, и летом 2020 года компания подтвердила, что продолжит работу над беспроводными решениями.
Усилия Valve уходят корнями в прошлое: в 2016 году Valve инвестировала значительную сумму в американскую компанию Nitero, которая специализируется на беспроводных чипах для мобильных устройств.
Вопрос в том, к чему стремится Valve в конечном итоге? Можно было бы подумать о новом головном креплении для Valve Index со встроенным беспроводным модулем или Valve Index 2, оптимизированном для потоковой передачи VR на ПК.
Маловероятно, но нельзя исключать, что Valve планирует полностью автономное устройство, подобное Oculus Quest 2. Для этого Valve придется отказаться от традиционного домена ПК и создать магазин мобильного VR-контента. Усилия могут быть не такими уж большими: благодаря стандарту OpenXR разработчикам должно быть проще, чем раньше, переносить свои приложения Quest на другое мобильное устройство. SteamVR, кстати говоря, уже поддерживает OpenXR.
Оба варианта также возможны: самодостаточный Index 2, оптимизированный для потоковой передачи виртуальной реальности на ПК. С таким устройством Valve могла бы обскакать Facebook и удовлетворить спрос сообщества на самодостаточные очки VR без всяких там регистраций со стороны Facebook. Рынок виртуальной реальности отчаянно нуждается в конкуренте Quest, Valve могла бы его предоставить.