Очки виртуальной реальности (VR) купить в Москве в интернет-магазине «Виртуальные Очки»

Sony разрабатывает новые контроллеры PSVR

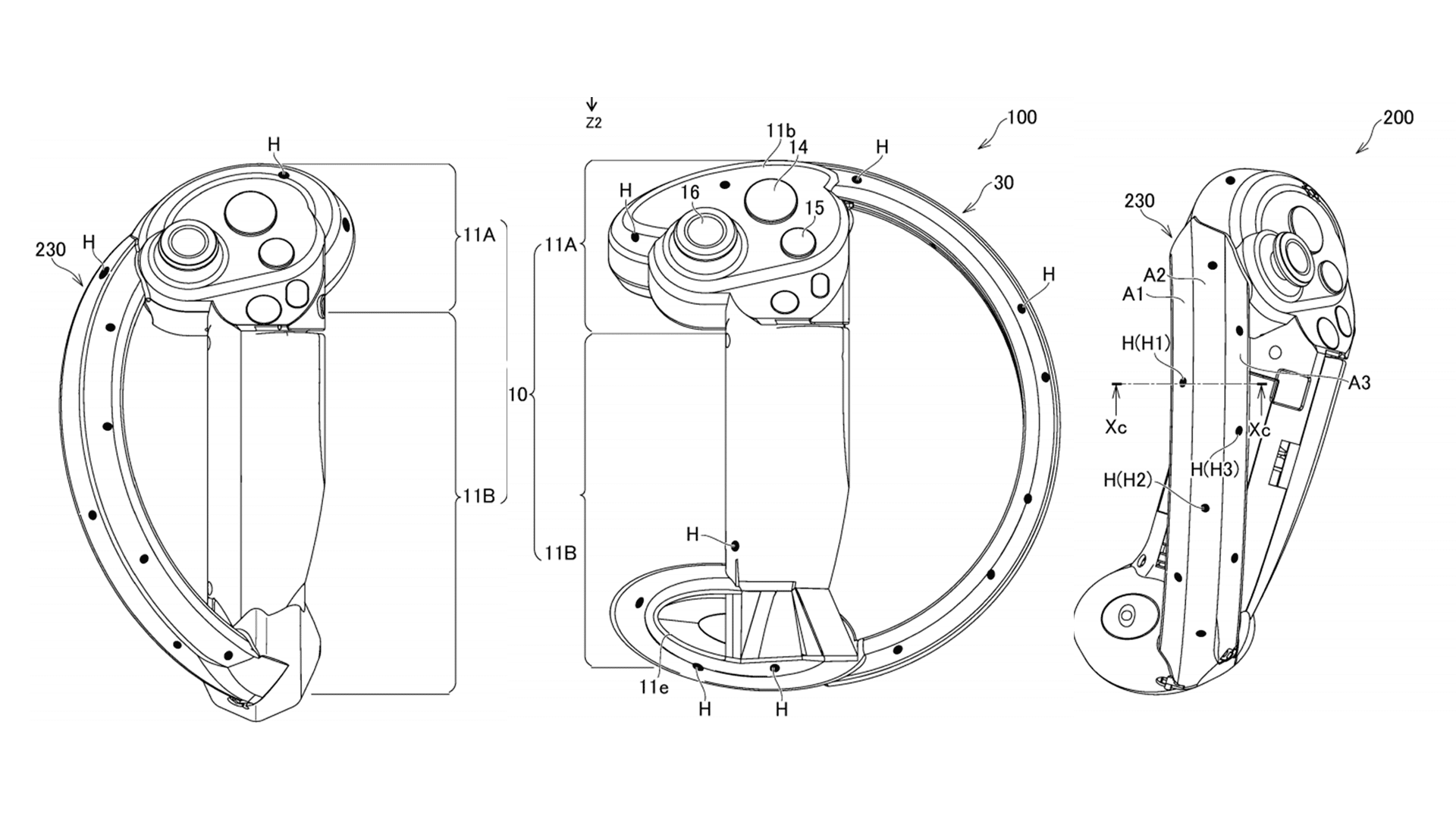
Недавно обнаруженная патентная заявка дает нам, возможно, лучший взгляд на новые контроллеры для еще не анонсированной PSVR 2.

 

В японской документации, впервые обнаруженной Let’s Go Digital, есть подробные схемы устройств с разных ракурсов. Дизайн действительно соответствует ряду других патентов и исследовательских документов, которые мы видели у Sony за последние несколько лет.

 

Обнаружены новые контроллеры PSVR

 

Схема патентов на новые контроллеры PSVR

 

Контроллеры, например, очень похожи на кастеты Valve Index, с установленным сбоку полукольцом, в котором, вероятно, будут размещаться датчики для отслеживания 6DOF. Основная рукоятка для контроллеров определенно выглядит так, как будто она может имитировать технологию отслеживания пальцев а-ля Index. Ранее в этом году было опубликовано видео исследования Sony, которое подтвердило, что компания работает над такой технологией.

 

 

Те, кто разочарован оригинальными контроллерами Move от PSVR, будут рады услышать, что эти новые контроллеры PSVR также оснащены аналоговыми стиками. Кроме того, есть то, что выглядит как две лицевые кнопки и две меньшие кнопки, которые, возможно, могут отражать кнопки PS5 «Поделиться» и «Параметры». Интересно отметить, что в целом количество кнопок меньше, чем на исходных контроллерах Move, что заставляет задуматься о том, как и могут ли вообще эти контроллеры работать со старыми играми PS4 VR.

 

Патентная диаграмма 2 новых контроллеров PSVR

 

Другой взгляд на дизайн подтверждает, что у контроллеров есть не только триггеры, но и похоже, что сама гарнитура PSVR может отслеживать положение контроллеров. Это говорит о том, что PSVR 2 может использовать систему отслеживания inside-out, аналогичную Oculus Quest и Rift S, а не оригинальному PSVR, который полагался на камеру, обращенную к пользователю.

 

Нужно всё же отметить, что вполне возможно эти патентные заявки не будут иметь большого значения, но они определенно соответствуют другим заявкам Sony, которые были продемонстрированы ранее. PS5 запускается в ноябре и будет поддерживать оригинальную PSVR, но новая версия гарнитуры не будет выпускаться вместе с консолью. Возможно, информация о ней появится уже в следующем году.

 

Источник

Другие статьи