Очки виртуальной реальности (VR) купить в Москве в интернет-магазине «Виртуальные Очки»

Sony работает над VR-контроллерами с отслеживанием пальцев

Недавно опубликованный патент от Sony Interactive Entertainment предполагает, что компания работает над новыми VR-контроллерами, подобным тем, что используются для Valve Index. Может ли это быть новый контроллер PSVR 2?

 

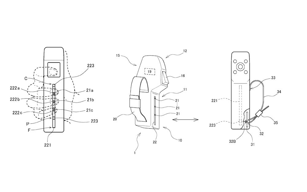
Патент на «Контроллерное устройство» описывает механизм ввода для «игрового устройства домашнего использования», который «обнаруживает движение руки пользователя». Не только это, но также контроллер включает в себя «множество сенсорных блоков, которые обнаруживают пальцы пользователя». Они могут обнаруживать «близость или контакт пальца и выводить сигнал обнаружения пальца, указывающий состояние близости или контакта пальца».

 

Новые контроллеры PSVR 2?

 

контроллер psvr 2

 

На изображении выше можно увидеть дизайн, не слишком отличающийся от современных контроллеров VR; пользователь кладет руку под ремешок и обхватывает пальцами заднюю часть устройства.

 

Упомянутые выше сенсорные блоки расположены там, где пальцы будут лежать так же, как датчики на контроллерах Index или встроенные в контроллер Oculus Touch. Когда пальцы обвивают сенсор, контроллеры могут передавать эту информацию в конкретную VR-игру и отображать в игре руки пользователя как кулак или захват объекта. Когда датчики не могут найти палец, они предполагают, что он вытянут, и отражают это в приложении.

 

Опять же, эта функция уже несколько лет используется в настройках PC VR, но в оригинальных PSVR таких контроллеров PlayStation Move не существует. Учитывая сроки публикации патента, это может указывать на то, что Sony планирует внедрить этот тип отслеживания пальцев в новые контроллеры движения для своей гарнитуры PSVR 2, которую предполагается запустить для будущей консоли PS5.

 

 

На чертежах также показан ремень для руки пользователя, который теоретически может позволить игрокам отпустить свой контроллер. Таким образом, контроллер может имитировать захват виртуальных объектов, почти так же, как контроллеры Valve.

 

В то же время на передней панели устройства видно то, что выглядит как четыре лицевые кнопки с тем, что может быть либо пятой большей кнопкой посередине, либо, возможно, аналоговым джойстиком, функцией, которой очень не хватает в современных контроллерах Move для PSVR.

 

Однако это не означает, что будто Sony остановилась на точном способе отслеживания пальцев, по крайней мере, в соответствии с патентом. В какой-то момент текст говорит о том, что сенсорные блоки могут быть сконфигурированы либо «электростатическим датчиком, либо инфракрасным датчиком» в качестве примера. Все это говорит о том, что это, конечно, всего лишь патент, и никоим образом не указание на окончательную конструкцию нового контроллера для потенциального PSVR 2.

 

Мы знаем, что Sony внедряет некоторые захватывающие функции в свой следующий контроллер DualShock для PS5, включая триггеры, которые могут оказывать сопротивление при сжатии, и улучшенную тактильную обратную связь. Будем надеяться, что эти функции также появятся в новом контроллере PSVR.

 

Источник

Другие статьи