Очки виртуальной реальности (VR) купить в Москве в интернет-магазине «Виртуальные Очки»

Очки Apple Mixed Reality: с функцией охлаждения лица?

По словам инсайдеров, Apple представит очки смешанной реальности с высококлассными характеристиками в этом или следующем году. Патент показывает, как можно охладить высокопроизводительное устройство и пользователя.

 

В начале года прошла настоящая волна утечек о грядущих VR-очках Apple. Согласно отчетам, устройство оснащено двумя дисплеями 8K, особенно мощным чипом Apple и множеством датчиков для пространственного отслеживания, отслеживания взгляда и просмотра AR-видео. Все это самодостаточно и в узком форм-факторе.

 

Если бы оно действительно обладал этими свойствами, то технически затмило бы все предыдущие очки VR.

 

Возникает проблема: дисплеи с высоким разрешением и чип должны выделять даже больше тепла, чем другие самодостаточные очки VR, такие как Oculus Quest 2, чей процессор работает только при половинной нагрузке из-за энергопотребления и выделения тепла

 

 

Кондиционер для очков и лица

 

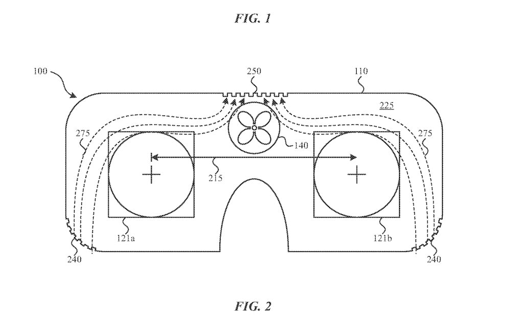
Патент Apple показывает, как может работать система охлаждения очков смешанной реальности. В патенте описан корпус с впускным и выпускным отверстиями. Сложная система циркуляции воздуха всасывает воздух через входное отверстие, направляет холодный воздух мимо дисплеев и чипа и позволяет ему снова выходить через выходное отверстие. Следующий рисунок иллюстрирует принцип.

Apple_VR_Glasses_cooling система

На чертеже показан корпус с впускными отверстиями в нижних углах очков VR и выпускным отверстием наверху. | Изображение: USPTO / Apple

 

В одном из вариантов изобретения воздушный поток отклоняется для охлаждения лица носящего очки. Это позволило бы Apple убить сразу двух зайцев. 

 

«Система охлаждения также может быть использована для охлаждения лица пользователя от накопления тепла внутри устройства», — буквально говорится в патенте.

 

Не совсем новая идея

 

Вопрос в том, делает ли компания вообще ставку на такую ​​сложную систему. Чем больше механических деталей в очках VR, тем сложнее и дороже они будут в производстве, не говоря уже о склонности к поломке. Кроме того, активное охлаждение может создавать шумы, отвлекающие от работы с виртуальной реальностью, что сама Apple описывает как проблему.

 

Кстати, идея кулера для лица не нова. Несколько лет назад компания Redrotor произвела мини-вентиляторы для HTC Vive («ViveNchill»), которые крепятся снаружи очков виртуальной реальности и нагнетают холодный воздух для пользователей очков.

 

Источник

Другие статьи